Kia Picanto (JA): Heating,Ventilation, Air Conditioning

Kia Picanto (JA) 2017-2026 Service & Repair Manual / Heating,Ventilation, Air Conditioning

Specifications

Specification
Air conditioner
Item
Specification
Compressor
Type
5VSe09(Variable Dispacement Swashplate)
5VS09
Oil type & Capacity
FD46XG(PAG) 100±10g
Pulley type
POLY V RIBBED BEIT 6PK
Displacement
90cc/rev
Condenser
Heat rejection
9,890 -3% kcal/hr
A/C Pressure transducer
The method to measure the pressure
DUEL Switch
Voltage= 0.00878835 * Presure (psig) + 0.5
Expansion valve
Type
Block type
Refrigerant
Type
R-134a, R-1234yf
Capacity [oz.(g)]
370 ± 25g

Blower unit
Item
Specification
Fresh and recirculation
Operating method
Actuator
Blower
Type
Sirocco
Speed step
1~4speed (Manual), Auto + 8 speed (FATC)
Speed control
Resistor(manual),  Mosfet (FATC)
Air filter
Type
Particle filter

Heater and evaporator unit
Item
Specification
Heater
Type
Pin & Tube type
Heating capacity
4,400 - 5% kcal/hr
Mode operating method
Manual (Cable), FATC (Actuator)
Temperature operating method
Manual (Cable), FATC (Actuator)
Evaporator
Temperature control type
Evaporator temperature sensor
A/C ON/OFF [°C(°F)]
ON: 4.4 ± 0.4 (39.9 ± 32.7), OFF: 2.9 ± 0.4 (37.2 ± 32.7)

Special service tools

Special Service Tools
Tool (Number and name)
Illustration
Use
09977-29000
Disc & hub assembly bolt remover

Removal and installation of disc & hub assembly

Troubleshooting

Troubleshooting
Problem Symptoms Table
Before replacing or repairing air conditioning components, first determine if the malfunction is due to the refrigerant charge, air flow or compressor.
Use the table below to help you find the cause of the problem. The numbers indicate the priority of the likely cause of the problem. Check each part in order. If necessary, replace these parts.
After correcting the malfunction, check the complete system to ensure that performance is satisfactory.
Symptom
Suspect Area
No blower operation
1.       Blower fuse
2.       Blower motor
3.       Power mosfet
4.       Blower speed control switch
5.       Wire harness
No air temperature control
1.       Engine coolant capacity
2.       Heater control assembly
No compressor operation
1.       Refrigerant capacity
2.       A/C Fuse
3.       Magnetic clutch
4.       Compressor
5.       A/C pressure transducer
6.       A/C switch
7.       Evaporator temperature sensor
8.      Wire harness
No cool comes out
1.       Refrigerant capacity
2.       Refrigerant pressure
3.       Drive belt.
4.       Magnetic clutch
5.       Compressor
6.     A/C pressure transducer
7.       Evaporator temperature sensor
8.       A/C switch
9.    Heater control assembly
10.     Wire harness
Insufficient cooling
1.       Refrigerant capacity
2.       Drive belt
3.       Magnetic clutch
4.       Compressor
5.       Condenser
6.       Expansion valve
7.       Evaporator
8.       Refrigerant lines
9.    A/C pressure transducer
10. Heater control assembly
No engine idle-up when A/C switch ON
1.       Engine ECM
2.       Wire harness
No air inlet control
1.       Heater control assembly
No mode control
1.       Heater control assembly
No cooling fan operation
1.       Cooling fan fuse
2.       Fan motor
3.       Engine ECM
4.       Wire harness

Air Conditioning System

General safety information and caution

Instructions
When Handling Refrigerant
1.
R-134a liquid refrigerant is highly volatile. A drop on the skin of your hand could result in localized frostbite. When handling the refrigerant, be sure to wear gloves.
2.
It is standard practice to wear goggles or glasses to protect your eyes, and gloves to protect your hands. If the refrigerant splashes into your eyes, wash them with clean water immediately.
3.
The R-134a container is highly pressurized. Never leave it in a hot place, and check storage temperature is below 52°C (126°F).
4.
An electronic leak detector should be used to check the system for refrigerant leakage. Bear in mind that the R-134a, upon coming into contact with flame, produces phosgene, a highly toxic gas.
5.
Use only recommended lubricant for R-134a systems. If lubricants other than the recommended one used, system failure may occur.
6.
PAG lubricant absorbs moisture from the atmosphere at a rapid rate, therefore the following precautions must be observed:
When removing refrigerant components from a vehicle, cap the components immediately to prevent entry of moisture.
When installing refrigerant components to a vehicle, do not remove the cap until just before connecting the components.
Complete the connection of all refrigerant tubes and hoses without delay to prevent the A/C system from taking on moisture.
Use the recommended lubricant from a sealed container only.
7.
If an accidental discharge in the system occurs, ventilate the work area before resum of service.

When replacing parts ON A/C system
1.
Never open or loosen a connection before discharging the system.
2.
Seal the open fittings of components with a cap or plug immediately to prevent intrusion of moisture or dust.
3.
Do not remove the sealing caps from a Replacement component until it is ready to be installed.
4.
Before connecting an open fitting, always install a new sealing ring. Coat the fitting and seal with refrigerant oil before making the connection.

When Installing Connecting Parts
Flange With Guide Pin
Check the new O-ring for damage (use only the specified) and lubricate by using compressor oil. Tighten the nut to specified torque.

   
T means tensile intensity, which is stamped on the head of bolt only numeral.
Handling tubing and fittings
The internal parts of the refrigeration system will remain in a state of chemical stability as long as pure moisture-free refrigerant and refrigerant oil are used. Abnormal amounts of dirt, moisture or air can upset the chemical stability and cause problems or serious damage.
The Following precautions must be observed
1.
When it is necessary to open the refrigeration system, have everything you will need to service the system ready so the system will not be left open any longer than necessary.
2.
Cap or plug all lines and fittings as soon as they are opened to prevent the entrance of dirt and moisture.
3.
All lines and components in parts stock should be capped or sealed until they are ready to be used.
4.
Never attempt to rebind formed lines to fit. Use the correct line for the installation you are servicing.
5.
All tools, including the refrigerant dispensing manifold, the gauge set manifold and test hoses, should be kept clean and dry.

Description and operation

Refrigeration Cycle

Repair procedures

Refrigerant System Service Basics
Refrigerant Recovery
Use only service equipment that is U.L-listed and is certified to meet the requirements of SAE J2210 to remove HFC-134a(R-134a) from the air conditioning system.
   
Air conditioning refrigerant or lubricant vapor can irritate your eyes, nose, or throat.
Be careful when connecting service equipment.
Do not breathe refrigerant or vapor.
If accidental system discharge occurs, ventilate work area before resume of service.
Additional health and safety information may be obtained from the refrigerant and lubricant manufacturers.
1.
Connect an R-134a refrigerant
Recovery/Recycling/Charging System (A) to the high-pressure service port (B) and the low-pressure service port (C) as shown, following the equipment manufacturer's instructions.

2.
Measure the amount of refrigerant oil removed from the A/C system after the recovery process is completed. Be sure to install the same amount of new refrigerant oil back into the A/C system before charging.
System Evacuation
Use only service equipment that is U.L-listed and is certified to meet the requirements of SAE J2210 to remove HFC-134a(R-134a) from the air conditioning system.
   
Air conditioning refrigerant or lubricant vapor can irritate your eyes, nose, or throat.
Be careful when connecting service equipment.
Do not breathe refrigerant or vapor.
If accidental system discharge occurs, ventilate work area before resume of service.
Additional health and safety information may be obtained from the refrigerant and lubricant manufacturers.
1.
When an A/C System has been opened to the atmosphere, such as during installation or repair, it must be evacuated using an R-134a refrigerant Recovery/Recycling/Charging System. (If the system has been open for several days, the receiver/dryer should be replaced, and the system should be evacuated for several hours.)
2.
Connect an R-134a refrigerant
Recovery/Recycling/Charging System (A) to the high-pressure service port (B) and the low-pressure service port (C) as shown, following the equipment manufacturer's instructions.

3.
If the low-pressure does not reach more than 93.3 kPa (700 mmHg, 27.6 in.Hg) in 10 minutes, there is probably a leak in the system. Partially charge the system, and check for leaks (see Leak Test.).
4.
Remove the low pressure valve from the low-pressure service port.
System Charging
Use only service equipment that is U.L-listed and is certified to meet the requirements of SAE J2210 to remove HFC-134a(R-134a) from the air conditioning system.
   
Air conditioning refrigerant or lubricant vapor can irritate your eyes, nose, or throat.
Be careful when connecting service equipment.
Do not breathe refrigerant or vapor.
If accidental system discharge occurs, ventilate work area before resume of service.
Additional health and safety information may be obtained from the refrigerant and lubricant manufacturers.
1.
Connect an R-134a refrigerant
Recovery/Recycling/Charging System (A) to the high-pressure service port (B) as shown, following the equipment manufacturer's instructions.

2.
Add the same amount of new refrigerant oil to system that was removed during recovery. Use only specified refrigerant oil. Charge the system with 13.05 ± 0.88oz. (370 ± 25g) of R-134a refrigerant. Do not overcharge the system the compressor will be damaged.
Refrigerant Leak Test
Always conduct a leak test with an electronic leak detector whenever leakage or refrigerant is suspected and when conducting service operations which are accompanied by disassembly or loosening or connection fittings.
   
In order to use the leak detector properly, read the manual supplied by the manufacturer.
If a gas leak is detected, proceed as follows:
1.
Check the torque on the connection fittings and, if too loose, tighten to the proper torque. Check for gas leakage with a leak detector (A).
2.
If leakage continues even after the fitting has been tightened, discharge the refrigerant from the system, disconnect the fittings, and check their seating faces for damage. Always replace, even if the damage is slight.
3.
Check the compressor oil and add oil if required.
4.
Charge the system and recheck for gas leaks. If no leaks are found, evacuate and charge the system again.

Components and components location

Component Location Index
Engine Room

1. Compressor
2. A/C pressure transducer
3. Service port (High)
4. Service port (Low)
5. Expention Valve

Interior

1. Photo Sensor
2. A/C & Heater Controller (Manual)
3. A/C & Heater Controller (FATC)
4. Heater & Blower Unit
5. Evaporator Sensor

Compressor Oil

Repair procedures

Oil Specification
1.
The HFC-134a system requires synthetic (PAG) compressor oil whereas the R-12 system requires mineral compressor oil. The two oils must never be mixed.
2.
Compressor (PAG) oil varies according to compressor model. Be sure to use oil specified for the model of compressor.
Handling of Oil
1.
The oil should be free from moisture, dust, metal powder, etc.
2.
Do not mix with other oil.
3.
The water content in the oil increases when exposed to the air. After use, seal oil from air immediately. (HFC-134a Compressor Oil absorbs moisture very easily.)
4.
The compressor oil must be stored in steel containers, not in plastic containers.
Compressor Oil Check
The oil used to lubricate the compressor is circulating with the refrigerant.
Whenever replacing any component of the system or a large amount of gas leakage occurs, add oil to maintain the original amount of oil.
Oil total volume in system
PAG OIL : 100 ± 10 g
Oil Return Operation
There is close affinity between the oil and the refrigerant.
During normal operation, part of the oil recirculation with the refrigerant in the system. When checking the amount of oil in the system, or replacing any component of the system, the compressor must be run in advance for oil return operation. The procedure is as follows :
1.
Open all the doors and the engine hood.
2.
Start the engine and air conditioning switch to "ON" and set the blower motor control knob at its highest position.
3.
Run the compressor for more than 20 minutes between 800 and 1,000 rpm in order to operate the system.
4.
Stop the engine.
Replacement of Component Parts
When replacing the system component parts, supply the following amount of oil to the component parts to be installed.
Component parts to be installed
Amount of Oil
Evaporator
50 g (1.70 fl.oz)
Condenser
30 g (1.02 fl.oz)
Receiver/dryer
30 g (1.02 fl.oz)
Refrigerant line
(One piece)
10 g (0.34 fl.oz)

For compressor Replacement, subtract the volume of oil drained from the removed compressor from the specified volume, and drain the calculated volume of oil from the new compressor :
The specified volume - volume of removed compressor = volume to drain from the new compressor.
   
Even if no oil is drained from the removed compressor, don’t drain more than 50cc from new compressor.

Refrigerant line

Components and components location

Component Location

Repair procedures

Replacement
1.
Discharge refrigerant from refrigeration system.
2.
Replace faulty tube or hose.
   
Cap the open fittings immediately to keep moisture or dirt out of the system.
3.
Tighten joint of bolt or nut to specified torque.
   
Connections should not be torque tighter than the specified torque.
Part tightened
N·m
Kgf·m
lb·ft
Condenser - Discharge hose
6.8 - 10.7
0.7 - 1.1
5.6 - 7.9
Condenser - Liquid tube
Compressor - Discharge hose
18.6 - 27.4
1.9 - 2.8
13.7 - 20.2
Compressor - Suction hose
Expansion valve - Evaporator
7.8 - 11.7
0.8 - 1.2
5.7 - 8.6

4.
Evacuate air in refrigeration system and charge system with refrigerant.
Specified amount : 370 ± 25g(13.0±0.88 oz.)
5.
Inspect for leakage of refrigerant.
Using a gas leak detector, check for leakage of refrigerant.
6.
Inspect A/C operation.

Compressor

Components and components location

Components [5VSe09]

1. Bolt
2. Disc & Hub Assembly
3. Gap Washer (Shim)
4. Retainer Ring
5. Pulley
6. Retainer Ring
7. Field Coil
8. Compressor Assembly

Components [5CS09]

1. Bolt
2. Disc & Hub Assembly
3. Gap Washer (Shim)
4. Retainer Ring
5. Pulley
6. Retainer Ring
7. Field Coil
8. Compressor Assembly
9. Manifold

Repair procedures

Removal
1.
If the compressor is marginally operable, run the engine at idle speed, and let the air conditioning work for a few minutes, then shut the engine off.
2.
Disconnect the negative cable from the battery.
3.
Recover the refrigerant with a recovery/charging station.
4.
Disconnect the drive belt.
G 1.0 MPI-KAPPA(Refer to Engine Mechanical System - "Drive Belt")
G 1.2 MPI-GAMMA(Refer to Engine Mechanical System - "Drive Belt")
F 1.0 KAPPA FFV(Refer to Engine Mechanical System - "Drive Belt")
G 1.0 T-GDI KAPPA(Refer to Engine Mechanical System - "Drive Belt")
5.
Remove the intercooler. [G 1.0 T-GDI KAPPA]
G 1.0 T-GDI KAPPA(Refer to Engine Mechanical System - "Intercooler")
6.
Remove the bolts, than disconnect the discharge line (A) and suction line (B) from the compressor.

7.
Disconnect the compressor clutch connector (A), and then remove mounting bolts and the compressor (B).

[5VSe09]

[5VS09]

Installation
1.
Make sure of the length of compressor mounting bolts, and then tighten it A→B→C→D order.
Tightening torque :
20.0 - 32.9 N·m (2.04 - 3.36 kgf·m, 14.7 - 24.3 lb·ft)
[5VSe09]

[5CS09]

2.
Install in the reverse order of removal, and note these items.
When installing a new compressor, drain all the refrigerant oil from the removed compressor and measure its volume. Subtract the volume of drained oil from the original capacity to calculate the amount of compressor oil that needs to be drained from the new compressor (through the suction fitting).
Replace the O-rings with new ones at each fitting, and apply a thin coat of refrigerant oil before installing them. Be sure to use the right O-rings for R-134a to avoid leakage.
To avoid contamination, do not return the oil to the container once dispensed, and never mix it with other refrigerant oils.
Immediately after using the oil, replace the cap on the container and seal it to avoid moisture absorption.
Inspection
1.
Check the plated parts of the limiter & hub assembly (A) for color changes, peeling or other damage. If there is damage, replace the assembly.
2.
Check the pulley (B) bearing play and drag by rotating the pulley by hand. Replace the pulley with a new one if it is noisy or has excessive play/drag.

3.
Check operation of the magnetic clutch.
Connect the compressor side terminals to the battery (+) terminal and the ground battery (-) terminal to the compressor body.Check the magnetic clutch operating noise to determine the condition.

Disassembly
1.
Remove the front left tire (A) from hub.

2.
Remove the engine room under cover.
G 1.0 MPI-KAPPA (Refer to Engine Mechanical System - "Engine Room Under Cover")
G 1.2 MPI-GAMMA (Refer to Engine Mechanical System - "Engine Room Under Cover")
F 1.0 KAPPA FFV (Refer to Engine Mechanical System - "Engine Room Under Cover")
G 1.0 T-GDI KAPPA (Refer to Engine Mechanical System - "Engine Room Under Cover")
3.
Remove the front wheel guard.
(Refer to Body - "Front Wheel Guard")
4.
Remove the center bolt (A) while holding the disc & hub assembly with SST( 09977-29000).
Tightening torque:
10 - 15 N·m (1.02 - 1.53 kgf·m, 7.37 - 11 lb·ft)

5.
Remove the disc & hub assembly (A) and shim (gap washer) , taking care not to lose the shims (B).

6.
Loosen the drive belt.
G 1.0 MPI-KAPPA(Refer to Engine Mechanical System - "Drive Belt")
G 1.2 MPI-GAMMA(Refer to Engine Mechanical System - "Drive Belt")
F 1.0 KAPPA FFV(Refer to Engine Mechanical System - "Drive Belt")
G 1.0 T-GDI KAPPA(Refer to Engine Mechanical System - "Drive Belt")
7.
Disconnect the retainer ring (A) and then remove the pulley (B).

   
Be careful not to damage the pulley (B) and compressor during removal/installation.
Once retainer ring (A) is removed, replace it with a new one.
8.
Remove the retainer ring (A) and then remove the field coil (B). Be careful not to damage the coil and compressor.

9.
Reassemble the compressor clutch in the reverse order of disassembly, and note these items :
Clean the pulley and compressor sliding surfaces with non-petroleum solvent.
Install new retainer rings, and make sure they are fully seated in the groove.
Make sure that the pulley turns smoothly after its reassembled.

Condenser

Components and components location

Component Location

1. Condenser


Repair procedures

Removal
1.
Recover the refrigerant with a recovery/recycling/charging station.
2.
Disconnect the negative (-) battery terminal.
3.
Remove the front bumper.
(Refer to Body - "Front Bumper Assembly")
4.
Remove the air guard (A) after loosening the fastener.

5.
Remove the discharge line (A) and liquid line (B) from the condenser after loosening the nuts.
Tightening torque :
6.8 - 10.7 N·m (0.7 - 3.36 kgf·m, 14.7 - 24.3 lb·ft)

   
Plug or cap the lines immediately after disconnecting them to avoid moisture and dust contamination.
6.
Remove the side air guard (A).

7.
Remove the condenser assembly (A).

8.
Install in the reverse order of removal.

Receiver-Drier

Repair procedures

Replacement
1.
Remove the condenser, and then remove the bottom cap (B) with L wrench (A) from the condenser.
Tightening torque :
9.8 - 14.7 N·m (1.0 - 1.5 kgf·m, 7.2 - 10.8 lb·ft)

2.
Remove the desiccant (A) from condenser using a long nose plier. Check for crumbled desiccant and clogged bottom cap filter.

3.
Apply air conditioning compressor oil along the O-rings and threads of the new bottom cap.
4.
Insert the new desiccant into the receiver drier tank. The desiccant must be sealed in vacuum before it is exposed to air for use.
5.
Install the new bottom cap to the condenser.
   
Always replace the desiccant and bottom cap at the same time.
Replace the O-rings with new ones at each fitting, and apply a thin coat of refrigerant oil before installing them. Be sure to use the right O-rings for R-134a to avoid leakage.
Be careful not to damage the radiator and condenser fins when installing the condenser.
Be sure to install the lower mount cushions of condenser securely into the holes.
Charge the system, and test its performance.

A/C Pressure Transducer

Components and components location

Component Location

1. A/C Pressure Transducer


Description and operation

Description
A/C pressure transducer convert the pressure value of high pressure line into voltage value after measure it. By converted voltage value, engine ECU controls cooling fan by operating it high speed or low speed. Engine ECU stop the operation of compressor when the temperature of refrigerant line is so high or so low irregularly to optimize air conditioning system.

Repair procedures

Inspection
1.
Measure the pressure of high pressure line by measuring voltage output between NO.1 and NO.2 terminals.

2.
Inspect the voltage value whether it is sufficient to be regular value or not.
Voltage = 0.00878835 * Pressure (PSIG) + 0.5
3.
If the measured voltage value is not specification, replace the A/C pressure transducer.
Replacement
1.
Disconnect the negative (-) battery terminal.
2.
Recover the refrigerant with a recovery/charging station.
3.
Disconnect the A/C pressure transducer connector (A).
4.
Remove the A/C pressure transducer (B).

   
Take care that liquid & suction pipe are not bent.
5.
Install in the reverse order of removal.

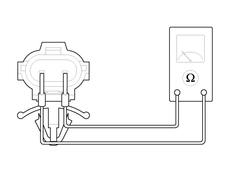
Evaporator Temperature Sensor

Description and operation

Description
The evaporator temperature sensor will detect the evaporator core temperature and interrupt compressor relay power in order to prevent evaporator freezing by excessive cooling

Repair procedures

Inspection
1.
Ignition "OFF".
2.
Disconnect evaporator temperature sensor.
3.
Using the multi-tester, Measure resistance between terminal "1" and "2" of evaporator temperature sensor.

Specification
Evaporator core
temperature[°C(°F)]
Resistance[KΩ]
-20
70.04
-10
43.35
0
27.62
10
18.07
20
12.11
30
8.30
40
5.81
50
4.15

Replacement
1.
Disconnect the negative (-) battery terminal.
2.
Remove the evaporator temperature sensor (B), by pulling it after rorating 90° in a counter clock wise direction.

3.
Install in the reverse order of removal.

Photo Sensor

Description and operation

Description
1.
The photo sensor is located at the center of defrost nozzle.
The photo sensor contains a photovoltaic (sensitive to sunlight) diode. The solar radiation received by its light receiving portion, generates an electromotive force in proportion to the amount of radiation received which is transferred to the automatic temperature control module so that the solar radiation compensation will be performed.

Repair procedures

Inspection
1.
Ignition "ON"
2.
Using the scan tool.
3.
Emit intensive light toward photo sensor using a lamp, and check the output voltage change.
4.
The voltage will rise with higher intensive light and reduce with lower intensive light.

1. Auto light sensor signal
2. Auto light sensor ground
3. Passenger Photo sensor
4. LED Battery (+)
5. LED Signal
6. Driver's Photo sensor (-)
7. Photo sensor (+5V)
8. Auto light sensor (+5V)

Replacement
1.
Disconnect the negative (-) battery terminal.
2.
With the (-) driver, remove the photo sensor (A) from the center of defrost nozzle.

3.
Install in the reverse order of removal.

Ambient Sensor

Description and operation

Description
1.
The ambient temperature sensor is located at the front of the condenser and detects ambient air temperature. It is a negative type thermistor resistance will increase with lower temperature, and decrease with higher temperatures.
2.
The sensor output will be used for discharge temperature control, temperature regulation door control, blower motor level control, mix mode control and in-car humidity control.
   
If the ambient temperature is below 0°C (32.0°F), the A/C compressor will be stopped.
The compressor will be operated by manual operating.

Repair procedures

Inspection
1.
Ignition "OFF"
2.
Disconnect ambient temperature sensor.
3.
Check the resistance of ambient temperature sensor between terminals 1 and 2 whether it is changed by changing of the ambient temperature.

Specification
Ambient temperature
[°C(°F)]
Resistance between terminals 1and 2 (kΩ)
-30(-22)
507
-20(-4)
284.5
-10(14)
164.2
0 (32)
97.5
10 (50)
59.6
20 (68)
37.46
30(86)
24.18
40(104)
16
50(122)
18.83

Replacement
1.
Disconnect the negative (-) battery terminal.
2.
Remove the engine room under cover.
G 1.0 MPI-KAPPA (Refer to Engine Mechanical System - "Engine Room Under Cover")
G 1.2 MPI-GAMMA (Refer to Engine Mechanical System - "Engine Room Under Cover")
F 1.0 KAPPA FFV (Refer to Engine Mechanical System - "Engine Room Under Cover")
G 1.0 T-GDI KAPPA (Refer to Engine Mechanical System - "Engine Room Under Cover")
3.
Disconnect the connector (A) and then remove the ambient temperature sensor (B).

4.
Install in the reverse order of removal.

Repair procedures Inspection Front Washer Motor 1.With the washer motor connected to the reservoir tank, fill the reservoir tank with water.    • Before filling the reservoir tank with water, check the filter for foreign material or contamination.

Other information:

Kia Picanto (JA) 2017-2026 Service & Repair Manual: Back View Camera System

Components and components location Component Location 1. Back view camera 2. AVN head unit 3. steering angle sensor Description and operation Description 1. To display back of the vehicle to assist the driver, it receives vehicle rearside image signal from the rearview camera and displays it on AVN head unit monitor

Kia Picanto (JA) 2017-2026 Service & Repair Manual: Antenna Coil

Repair procedures Removal 1.Disconnect the negative (-) battery terminal. 2.Remove the crash pad lower panel. (Refer to Body - "Crash Pad Lower Panel") 3.Remove the steering column upper and lower shroud panel. (Refer to Body - "Steering Column Shroud Panel") 4.

Categories

 
Copyright © 2026 www.kpicanto.com - 0.0261