| Components |

| 1. Shoe hold down pin 2. Shoe adjuster 3. Upper return spring 4. Adjusting lever | 5. Shoe 6. Adjusting spring 7. Lower return spring 8. Shoe hold spring |
| Removal |
|
| 1. | Remove the rear wheel & tire.
|
| 2. | Release the parking brake. |
| 3. | Loosen the screw (B) and then remove the rear brake drum (A).
|
| 4. | Remove the lower return spring (A).
|
| 5. | Remove the upper return spring (A).
|
| 6. | Remove
the shoe hold springs (A) and shoe hold pins (B) and then remove brake
shoe (C). Make sure not to damage the dust cover on the wheel cylinder.
|
| 7. | Remove the parking brake cable (A) and then remove brake shoe (B).
|
| 8. | Remove the rear wheel speed sensor.
(Refer to ESC (Electronic Stability Control) System - "Rear Wheel Speed Sensor")
|
| 9. | Disconnect brake tubes (A) from the wheel cylinder (B).
|
| 10. | Remove the bolts (C) and the wheel cylinder (B) from the backing plate (D). |
| Installation |
|
| 1. | Apply sealant between the wheel cylinder (B) and backing plate (D), and install the wheel cylinder.
|
| 2. | Connect the brake tubes (A) to the wheel cylinder.
|
| 3. | Connect the parking brake cable (A) to the brake shoe.
|
| 4. | Install the brake shoes (C) onto the backing plate. Be careful not to damage the wheel cylinder dust covers.
|
| 5. | Install the shoe hole down pins (B) and the shoe hole down springs (A). |
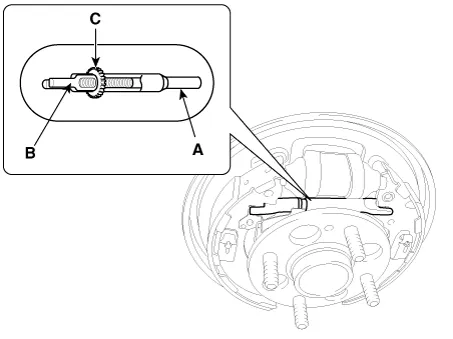
| 6. | Clean
the threaded portions of adjuster sleeve (A) and push rod female (B).
Coat the threads of the adjuster assembly with grease. To shorten the
clevises, turn the adjuster bolt (C).
|
| 7. | Hook the shoe adjuster lever (C), then install it to the brake shoe.
|
| 8. | Install
the adjuster assembly (B) and upper return spring (A) as right
direction. Be careful not to damage the wheel cylinder dust covers.
|
| 9. | Install the lower return spring (B).
|
| 10. | Apply brake cylinder grease or equivalent rubber grease to the sliding surfaces shown. Don't get grease on the brake linings.
|
| 11. | Apply
brake cylinder grease or equivalent rubber grease to the brake shoe
ends and opposite edges of the shoes shown. Don't get grease on the
brake linings.
|
| 12. | Install the rear brake drum (A).
|
| 13. | If the wheel cylinder has been removed, bleed the brake system. |
| 14. | Depress the brake pedal several times to set the self-adjusting brake. |
| 15. | Adjust the parking brake. |
| Inspection |
|
|
| 1. | Raise the rear of the vehicle, and make sure it is securely supported. |
| 2. | Release the parking brake, and remove the rear brake drum. |
| 3. | Check the wheel cylinder (A) for leakage.
|
| 4. | Check the brake linings (B) for cracking, glazing, wear, and contamination. |
| 5. | Measure the brake lining thickness (C).Measurement does not include brake shoe thickness.
|
| 6. | If the brake lining thickness is less than the service limit, replace the brake shoes as a set. |
| 7. | Check the bearings in the hub unit for smooth operation. If it requires servicing, replace it. |
| 8. | Measure the inside diameter of the brake drum with inside vernier calipers.
|
| 9. | If the inside diameter of the brake drum is more than the service limit, replace the brake drum. |
| 10. | Check the brake drum for scoring, grooves, and cracks. |
| 11. | Inspect the brake lining and drum for proper contact.
|
| 12. | Inspect the wheel cylinder outside for excessive wear and damage. |
| 13. | Inspect the backing plate for wear or damage. |
Rear Disc BrakeComponents and components location Components 1. Return spring 2. Brake pad assembly [OUT] 3. Brake pad assembly [IN] 4. Pad liner 5. Brake member 6...
Stop Lamp SwitchComponents and components location Components 1. Brake member assembly 2. Stop lamp switch 3. Brake pedal arm assembly 4. Brake pedal pad Schematic diagrams Schematic Diagram System circuit diagram Terminal function Terminal Description 1 IGN1 2 Engine Control Module (ECM) 3 B+ 4 Stop Lamp Troubleshooting Troubleshooting 1...
Specifications Specification Air conditioner Item Specification Compressor Type 5VSe09(Variable Dispacement Swashplate) 5VS09 Oil type & Capacity FD46XG(PAG) 100±10g Pulley type POLY V RIBBED BEIT 6PK Displacement 90cc/rev Condenser Heat rejection 9,890 -3% kcal/hr A/C Pressure transducer The method to measure the pressure DUEL Switch Voltage= 0...
1. Turn the ignition switch and all other switches off. 2. Remove the fuse panel cover by pressing the tab and pulling the cover up. When the blade type fuse is disconnected, remove it by using the clip designed for changing fuses located in the engine room fuse box...

The LCD Window modes can be changed by using the control buttons on the steering wheel.
- Type A
1. TRIP : TRIP button for changing
modes.
2. RESET : RESET button for resetting
the selected item.
- Type B
1.
: MODE button for change the
LCD MODES
2. ˄/˅ :
MOVE scroll switch for select
the items
3. OK : SET/RESET button for set the
items or reset the items