| Components Location |

| 1. Lock nut 2. Insulator dust cap 3. Self lock nut 4. Strut insulator 5. Strut bearing 6. Spring upper seat | 7. Spring upper pad 8. Coli spring 9. Dust cover 10. Bumper rubber 11. Spring lower pad 12. Shock absorber |
| Removal |
| 1. | Remove the front/rear wheel tire (A).
|
| 2. | Loosen the bolt and then remove the wheel speed sensor.
|
| 3. | Remove the stabilizer link nut.
|
| 4. | Remove the cowl top cover.
(Refer to Body - "Cowl Top Cover")
|
| 5. | Remove the cover.
|
| 6. | Loosen the front strut assembly nut.
|
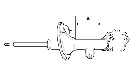
| 7. | Loosen the bolts and then remove the strut assembly (A) from the knuckle.
|
| 8. | Install in the reverse order of removal. |
| Disassembly |
| 1. | Using a strut spring compressor, compress the coil spring.
|
| 2. | Using the SST (09546-3X100), loosen the self locking nut.
|
| 3. | Remove the insulator, spring seat, coil spring and dust cover from the strut assembly. |
| 4. | Reassembly is the reverse of the disassembly. |
| Inspection |
| 1. | Check the strut insulator for wear or damage. |
| 2. | Check rubber parts for damage or deterioration. |
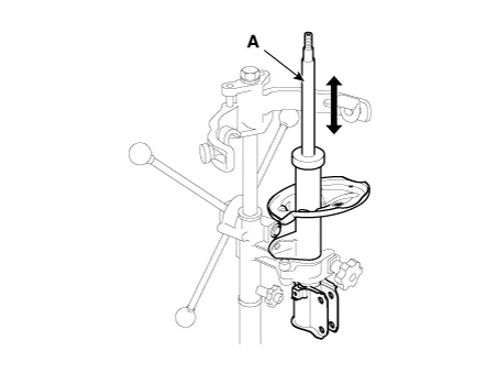
| 3. | Compress and extend the piston rod (A) and check that there is no abnormal resistance or unusual sound during operation.
|
| 1. | Fully extend the piston rod. |
| 2. | Drill a hole on the A section to remove gas from the cylinder.
|
Front Suspension SystemComponents and components location Components Location 1. Sub frame 2. Stabilizer bar 3. Gear box 4. Tie rod end 5. Front lower 6. Stabilizer link 7...
Front Lower ArmRepair procedures Removal 1.Remove the front/rear wheel tire (A). Tightening torque: 107.9 - 127.5 N·m (11.0 - 13.0 kgf·m, 79...
Repair procedures Removal 1.Remove the fuel pump. (Refer to Fuel Delivery System - "Fuel Pump") 2.Disconnect the fuel sender connector (A). 3.Press the fixing hook (A) with a driver and then remove fuel sender in the arrow direction...
Components and components location Component Location 1. Body control module (BCM) 2. Smart key unit (SMK) 3. Interior antenna 1 4. Interior antenna 2 5. FOB key 6. Start Stop Button (SSB) 7. Door handle & door antenna 8. Bumper antenna 9...

The rear parking assist system assists the driver during backward movement of the vehicle by chiming if any object is sensed within a distance of 120 cm (47 in.) behind the vehicle.