| Component Location |

| 1. Front seat back cover |
| Replacement |
Put on gloves to protect your hands. |
|
| 1. | Remove the front seat assembly.
(Refer to Front Seat - "Front Seat Assembly")
|
| 2. | Remove the recliner handle (A) after loosening the screw.
|
| 3. | Remove the pumping lever cap (A).
|
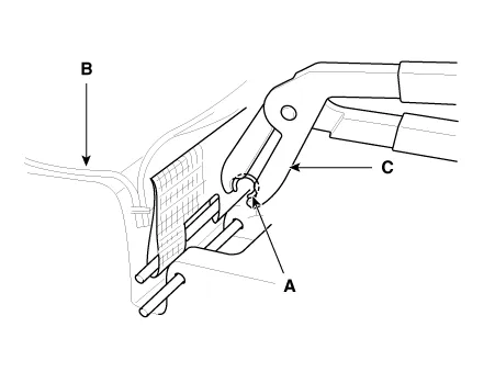
| 4. | Remove the pumping lever (A) after loosening the mounting screws.
|
| 5. | Remove the front seat shield outer cover (A) after loosening the mounting screws.
|
| 6. | Remove the front seat shield inner cover (A) by using a remover, .
|
| 7. | Pull up the front seat headrest (A).
|
| 8. | Remove the front seat back cover lower protector (A).
|
| 9. | Disconnect the heater connector (A) and air bag wiring mounting clips (B).
|
| 10. | Remove the front seat back cover hog-ring.
|
| 11. | Zipper open the front seat back cover (A) and then pull it up.
|
| 12. | Disconnect the front seat back cover lower hook.
|
| 13. | Disconnect the front seat back cover upper hook.
|
| 14. | Turn
the front seat back cover inside out. Then pull out and remove the
headrest guides (A) while pinching both sides of the lower part of the
guides.
|
| 15. | Remove the front seat back cover (A) from the front seat back frame.
|
| 16. | Remove
the front seat back cover (C) from the front the seat back frame after
removing the velcro tape (A) and hog-ring clips (B).
|
| 17. | Install in the reverse order of removal.
|
Front Seat Shield Inner CoverComponents and components location Component Location 1. Front seat shield inner cover Repair procedures Replacement Put on gloves to protect your hands...
When hazardous driving conditions are encountered such as water, snow, ice, mud, sand, or similar hazards, follow these suggestions: Drive cautiously and allow extra distance for braking. Avoid sudden braking or steering. When braking with non-ABS brakes pump the brake pedal with a light upand- down motion until the vehicle is stopped...
Description and operation Description An ignition coil is an induction coil in an engine's ignition system which transforms the battery's low voltage to the high voltage needed to create an electric spark in the spark plugs to ignite the fuel...

The ignition switch must be on for the turn signals to function. To turn on the turn signals, move the lever up or down (A).
The green arrow indicators on the instrument panel indicate which turn signal is operating. They will self-cancel after a turn is completed.