| Inspection |
| 1. | Check all the clamps for tightness and the connections for leakage. |
| 2. | Visually check the vapor lines and hoses for cracks, leaks, loose connections, or deformation. |
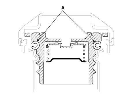
| 1. | Visually check that the fuel tank cap assembly and gasket (A) are not deformed or damaged.
|
Valve ClearanceRepair procedures Inspection [Kappa 1.0 MPI, 1.0 FFV, 1.0 T-GDI] Check the valve clearance. If necessary, adjust the valve clearance by replacing the tappets...
Chassis..
Repair procedures Inspection 1.Check belt for maintenance and abnormal wear of V-ribbed part. Replace if necessary. • Do not bend, twist or turn the drive belt inside out. • Do not allow the drive belt to come into contact with oil, water and steam...
Blade inspection NOTICE Commercial hot waxes applied by automatic car washes have been known to make the windshield difficult to clean. Contamination of either the windshield or the wiper blades with foreign matter can reduce the effectiveness of the windshield wipers...

1. Temperature control knob
2. AUTO (automatic control) button
3. Climate control display
4. Fan speed control knob
5. OFF button
6. Front windshield defroster button
7. Rear window defroster button
8. Mode selection button
9. Air conditioning button (if equipped)
10. Air intake control button