Kia Picanto (JA): Driveshaft Assembly / Dynamic Damper

Components and components location

Components
[RH]

1. BJ assembly
2. Clip
3. BJ boot band
4. BJ boot
5. Dynamic damper band
6. Dynamic damper
7. Shaft
8. TJ boot band
9. TJ boot
10. Spider assembly
11. Circlip
12. TJ housing
13. Circlip

[LH]

1. BJ assembly
2. BJ circlip
3. BJ boot band
4. BJ boot
5. Shaft
6. TJ boot band
7. TJ boot
8. Spider assembly
9. Snap ring
10. TJ case
11. Circlip

Repair procedures

Replacement
1.
Remove the front driveshaft.
(Refer to Driveshaft and axle - “Front Driveshaft”)
2.
Remove the TJ joint assembly.
(Refer to Driveshaft and axle - “TJ joint”)
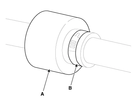
3.
Remove the remove the both side of band (B) of the dynamic damper (A).

4.
Fix the driveshaft (A) with a vice (B) as illustrated.

5.
Apply soap powder on the shaft to prevent being damaged between the shaft spline and the dynamic damper when the dynamic damper is removed.
6.
Seperate the dynamic damper (A) from the shaft (B) carefully.

Installation
1.
Apply soap powder on the shaft to prevent being damaged between the shaft spline and the dynamic damper.
2.
Install the dynamic damper.
3.
Install the dynamic damper band (A).
4.
Using the SST(09495-3K000), secure the TJ boot bands (B).
Clearance (A): 2.0 mm (0.0787 in.) or less

5.
Install the TJ joint assembly.
(Refer to Driveshaft Assembly - “TJ Joint”)
6.
Install the front driveshaft.
(Refer to Driveshaft Assembly - “Front Driveshaft”)
7.
Check the front alignment.
(Refer to Suspension System - "Alignment")

    Components and components location Components [RH] 1. BJ assembly 2. Clip 3. BJ boot band 4. BJ boot 5. Dynamic damper band 6. Dynamic damper 7.

    Components and components location Components [RH] 1. BJ assembly 2. Clip 3. BJ boot band 4. BJ boot 5. Dynamic damper band 6. Dynamic damper 7.

    Other information:

    Kia Picanto (JA) 2017-2026 Service & Repair Manual: Windshield Wiper-Washer Switch

    Repair procedures Removal 1.Disconnect the negative (-) battery terminal. 2.Remove the steering column upper and lower shrouds after loosening the screws. (Refer to Body - "Steering Column Shroud Panal") 3.Disconnect the wiper switch / washer switch connector (A).

    Kia Picanto (JA) 2017-2026 Service & Repair Manual: Heater & A/C Control Unit(Manual)

    Components and components location Components [NON ISG] Connector pin function No. Connector A Connector B 1 Low Battery 2 Common Illumination (+) 3 Ground HTD 4 Middle (Low) ISG Battery 5 Middle (High) - 6 High Detent out (-) 7 - 8 Sen

    Categories

     
    Copyright © 2026 www.kpicanto.com - 0.029